VIDEOJUEGOS
La IA de PlayStation podría actuar por ti cuando estés perdido en un juego, sugiere una patente de Sony
Según un documento registrado por Sony, la función usaría IA para ayudarte a avanzar e incluso a completar secciones concretas

La IA llega a los videojuegos.
Carlos de Ayala - Elsotanoperdido
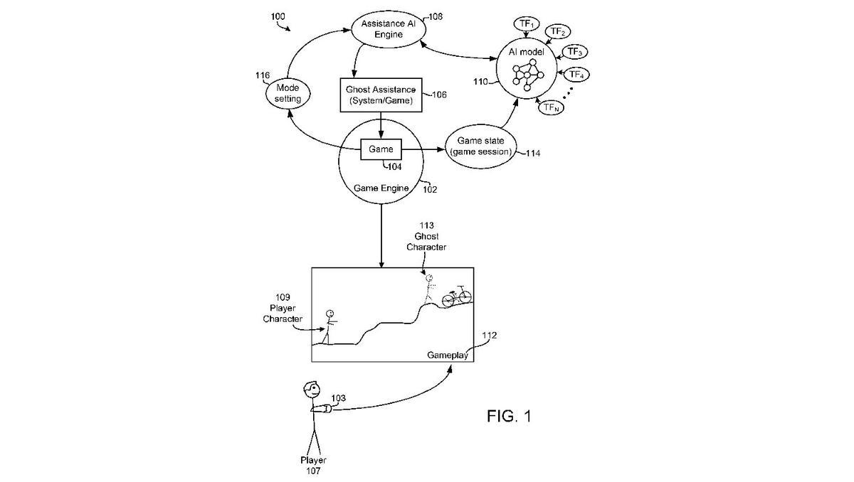
Sony ha presentado una patente de inteligencia artificial que describe un sistema capaz de tomar el control de los juegos de PlayStation cuando el jugador se queda atascado. El documento, identificado como WO 2025/080356 y titulado "AI Generated Ghost Player", detalla una función llamada "Ghost Player", que a grandes rasgos es un personaje fantasma controlado por IA.
El jugador fantasma
Según la patente, el sistema permitiría que el propio juego muestre o resuelva secciones específicas, como rompecabezas o momentos de progresión. La finalidad es que el jugador pueda solicitar ayuda cuando no pueda avanzar, sin tener que salir del juego para buscar guías externas.

Nuevo sistema de IA en videojuegos. / CEDIDA
La solicitud original fue realizada por Sony en septiembre de 2024 y se presenta como una evolución de las herramientas de asistencia ya existentes en PS5, ampliando el concepto de ayuda con intervenciones directas de la IA dentro del juego. En este contexto, el jugador sería orientado por una especie de "guía" que se reproduce automáticamente cuando la partida detecta falta de progreso.
Según relatan los documentos, Ghost Player crearía una versión "fantasma" controlada por IA del propio personaje del jugador capaz de realizar acciones para revelar o resolver obstáculos concretos. El texto del registro advierte que el “motor de asistencia” genera entradas de control para ese personaje y lo renderiza durante la sesión, como si estuviera mostrando la solución en tiempo real.
Dos formatos de ayuda
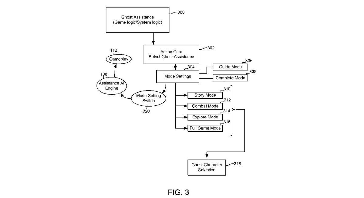
El sistema tendría dos formatos principales, un "Modo Guía", que muestra la solución, y un "Modo Completo", que actúa automáticamente en la parte donde el jugador se atasca. En un ejemplo citado en la patente, un Nathan Drake controlado por IA mostraría cómo resolver un puzle en ‘Uncharted’. Sony afirma que la función se entrenaría utilizando imágenes reales del propio juego, en lugar de depender de secuencias preprogramadas creadas por los desarrolladores, para adaptar la ayuda al estado exacto de la partida.

Sistema IA en videojuegos: 'El jugador fantasma'. / CEDIDA
Planes de implantación
Aunque la herramienta está registrada, Sony no ha confirmado oficialmente el uso de la tecnología y no hay confirmación de que tenga intención de utilizarla en futuros juegos. Este tipo de acciones son comunes en la industria. A lo largo de los años, empresas como Sony, Nintendo y Microsoft han patentado numerosas tecnologías que nunca se han materializado en productos finales. Como referencia reciente, Microsoft presentó Copilot for Gaming en 2025, con la intención de ofrecer ayuda y acompañamiento directo en la partida, aunque su planteamiento es distinto al de un personaje que actúa dentro del juego. En todo caso, ¿qué opinas de la patente de Sony que permitiría a la IA actuar por ti cuando te quedas atascado?
- Accidente de trenes en Adamuz (Córdoba), última hora del descarrilamiento, en directo | Los Reyes llegan a la zona cero
- Accidente ferroviario en Adamuz: al menos dos fallecidos confirmados
- Ninguna empresa se interesa por construir la Sala de las Artes de Córdoba
- Las lluvias lastran la recogida de la aceituna en Córdoba y rebajan el rendimiento
- La Aemet advierte de la llegada de una borrasca atlántica a Córdoba: estos son los días y horas de intensas lluvias esta semana
- Mari Carmen y Samuel, los dos servidores públicos de Córdoba que perdieron la vida en el accidente de Adamuz
- El mensaje del maquinista en las grabaciones de la caja negra del Iryo: 'Acabo de sufrir un enganchón a la altura de Adamuz
- Así respondieron las urgencias de los hospitales privados de Córdoba: 'Hablé con el SAS para decirle que teníamos capacidad